PY系列Y型三通氣動塑料接頭PY-4/6/8/10/12/14/16
訂購代號
技術參數
型號
PY-4
PY-6
PY-8
PY-10
PY-12
PY-14
PY-16
流體介質
Air
最大壓力
1.32Mpa(13.5kgf/cm2)
壓力范圍
0~0.9Mpa(0~9.2kgf/cm2)
-99.99~0Mpa(-750~0mmHg)
溫度
0℃~60℃
適用氣管
PU/Nylon tube
氣管外徑
4mm,6mm ,8mm,10mm,12mm,14mm,16mm
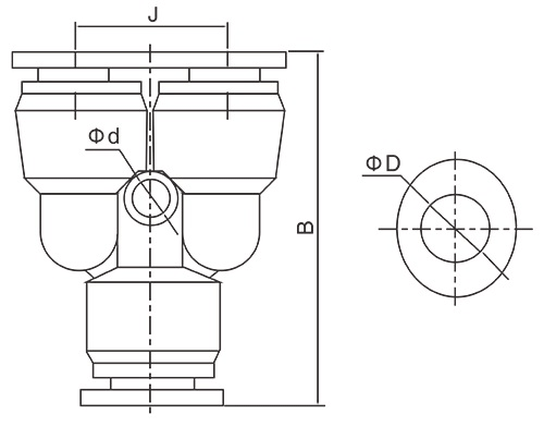
尺寸
正常壓力
低壓
公制尺寸
φD
B
J
φd
PY-4
4
36
11
2.5
PY-6
6
39
13
3.5
PY-8
8
43
15
4
PY-10
10
49
19
4
PY-12
12
54
21
4
PY-14
14
53
23.5
4
PY-16
16
63
27
4




