4A310 4A320 4A330 5/2 way 5/3 way closed center directional Pneumatic air operated control valve
Order code
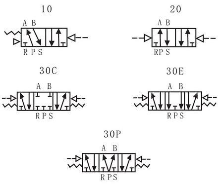
Symbol

Technical parameter
Model
4A310-08
4A320-08
4A330C-08
4A330E-08
4A330P-08
4A310-10
4A320-10
4A330C-10
4A330E-10
4A330P-10
Fluid
Air
Acting
Exterior control
Valve type
5/2 way
5/3 way
5/2 way
5/3 way
Orifice size
25mm2
18mm2
30mm2
18mm2
Lubrication
No required
Port size
In=out=Exhaust=G1/4”
In=out=Exhaust=G3/8”
Protective class
IP65
Pressure range
0.15-0.8MPa
Proof pressure
1.2MPa
Material of body
Aluminum Alloy
Temperature
-5℃~60℃
Response
speed
<0.05s
Dimension
Feature
. 4A310, 4A320, 4A330C, 4A330E, 4A330P series air operated valve.
. Exterior control, 5 port 2 position or 5 port 3 position.
. Port size: 1/4", 3/8".
.Double air control 5/2 way valves have memory function;
. Internal hole adopts special processing technology which has
little attrition friction, low start pressure and long service life;
. No need to add oil for lubrication;
. Integrate with the manifold to save installation space.





